
We specialise in sourcing and supplying solutions for steel rail manufactured to the requirements of AS 1085.1. We partner exclusively with ISO 9001-certified manufacturers, ensuring every rail product meets strict quality management standards as well as Australian compliance for strength, durability, and performance. All of the rail we source and supply goes through rigorous testing, including mechanical tests, chemical tests, dimensional checks, visual inspections, ultrasonic testing, and straightness checks on every batch of rail.
Rail
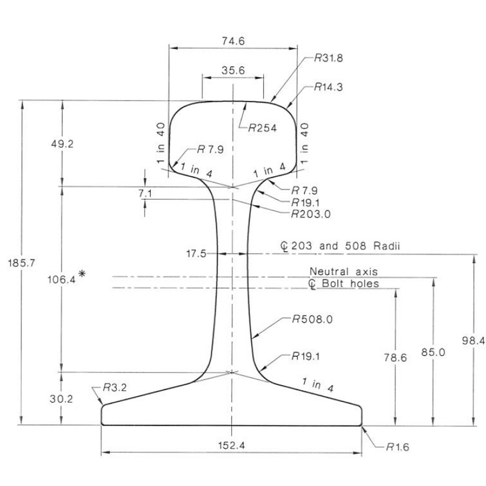
AS/NZS 1085:2019
Type of Rail Section
We partner with leading manufacturers of rail to supply many types of steel rail profiles. Any drilling requirements will be met to provide rail that is pre-drilled and ready for installation.
AS/NZS 1085.1:2019
.png)
We only partner with certified manufacturers
AS/NZS 1085.1:2019
We only partner with manufacturers who produce rail in full compliance with AS 1085.1. This ensures that every rail we supply meets strict Australian Standards for quality, performance, and safety. Our commitment to working with trusted, certified manufacturers guarantees consistent, reliable products for all rail projects.
ISO 9001:2015
We work exclusively with manufacturers who are ISO 9001 certified. This internationally recognized certification ensures that every stage of production follows strict quality management processes, resulting in consistent, reliable products. Our commitment to partnering with ISO 9001-certified manufacturers guarantees that our customers receive steel products they can trust for performance and durability.
ACRS
We exclusively partner with manufacturers who are certified by the Australasian Certification Authority for Reinforcing and Structural Steels (ACRS). This certification ensures that all steel products meet the rigorous requirements of Australian and New Zealand Standards. By working solely with ACRS-certified manufacturers, we guarantee traceable, independently audited, and consistently high-quality steel for every project we support.
.png)
.png)
.png)
.png)